24V LED mobility scooter headlight

The original headlight on my mobility scooter was a 24V 10W incandescent bulb, which as one would expect from a 10W incandescent bulb did light up but that's about all you could say for it. I had a bag of 10W LED emitters (comprising 3 parallel strings each of 3 series LEDs, mounted on a square aluminium plate) which I got off ebay for 10p a pop mainly just to see what they were like; they were as it turned out pretty good, so I decided to put one of those in the headlight instead: same power, but a lot more light.

24V LED driver
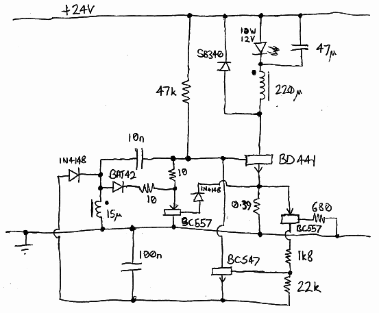
Circuit of 24V LED driver

The mobility scooter's power supply varies from nearly 29V with the batteries fully charged, down to 20V or less before it starts conking out. The 10W LED requires a constant current of 1A, which corresponds to 10V voltage drop theoretically, 12V nominally, and somewhere around 10 and a bit in practice. So a driver is required, of the buck converter variety.

It is possible to arrange a buck configuration so that current flows through the inductor and the load during both the on and the off phases of the switch. The current waveform is a linear sawtooth, so the average value is half the peak. This means that to achieve a constant current output, all you have to do is turn the switch off as soon as the current reaches a fixed peak value, and the rest all follows automatically.

This is done using a variant of the good old blocking oscillator circuit, with a BD441 transistor as the switching element. (Ordinary transistors are much easier to drive than MOSFETs when you want to switch them fast because you don't need to provide a spike of several amps to pull all the charge out of that sodding huge gate capacitance in some small fraction of a microsecond with the Miller effect fighting you at the same time, and you don't need anything like as much voltage swing either. And in this type of circuit the switch-off loss is the biggest source of loss and can rapidly get huge if you don't turn it off as fast as possible.)

The current is sensed from the voltage drop across the emitter resistor, and when it reaches the appropriate level (2A in this case) the base of the switching transistor is hauled negative. Hauling it negative rather than just taking it to ground helps initiate the switch-off cycle faster. The negative supply is produced by rectifying the negative excursions of the voltage on the feedback winding.

When doing this sort of thing there is a tendency for the switch-off point to get later as the frequency rises, which results in the peak current increasing with frequency and buggering up the regulation. To minimise this effect the current sense amplifier needs to be fast and have a decent amount of gain, so a common base stage is used to drive the common emitter stage instead of driving it off the sense resistor directly.

There is also a tendency for the peak current to increase with supply voltage, because the on-state voltage from the feedback winding increases with supply voltage, so the base drive also increases and the current sense amplifier needs to sink more current before it starts to have an effect. To avoid this, the base drive comes through a shunt regulator which follows the switching transistor's emitter voltage, so the current into the base is always one junction's worth of voltage over 10 ohms no matter what voltage the feedback winding is giving you.

So that's what all the crap is between the feedback winding and the base of the BD441.

The 220μH inductor was a surface mount component out of the power supply part of the main board of a dead scanner. I guessed at its current handling capability from the sizes and ratings of those components around it which had actual type numbers you can look up. It seems I guessed right because it handles the 2A peak fine and only gets slightly warm, which is as expected.

In form it looks like a ferrite cuboid of about 12x12x9mm. Underneath it has a pair of semicircular metal plate things to convert the wire ends to surface mount. These are easily unsoldered to convert it back to wire ends. Doing this also reveals the crack that they poke out through, which is circular and goes all the way round between the outer square part of the ferrite and the inner bobbin core. There is plenty of room to poke a length of 0.2mm enamelled wire through the crack and then poke it round and round several times to put some extra turns on for the feedback winding. I broke one of them getting it off the scanner board, so I broke it some more and counted the turns and found that the original 220μH winding is 53 turns; accordingly there are 14 turns to be put on for the 15μH additional feedback winding.

The switching transistor does not get more than slightly warm, and does not need a heatsink. The LED, of course, does. I mounted the LED on the heatsink and glued a big plastic ellipsoidal dome lens over the front of it which I got out of some forgotten item of illuminatory Chinese junk that I got for the parts yonks ago; I then mounted the heatsink on the back of the original headlight reflector, with the lens poking through the hole the bulb used to poke through (although I did have to cut the hole a bit larger). The optics of this arrangement are shite, although not as shite as without the dome lens, and waste half the light sending it at the sky instead of the road, but what can you do when any sufficiently powerful LED emitter is a big flat thing and indeed has to be so you can put a heatsink on it. It's still massively better than the original bulb was with decent optics.




Back to Pigeon's Nest


Be kind to pigeons




Valid HTML 4.01!